-
-
軸研所組織開展自動體外除顫儀急救技能專項培訓
2025年09月05日
- 軸研所組織開展自動體外除顫儀急救技能專項培訓 2025年09月05日
- 深耕提質增效 共筑軸研品質——軸研所舉行2025年“質量月”活動啟動儀式 2025年09月05日
- 賦能崗位技能提升 軸研所推出線上教學視頻 2025年09月05日
- 軸研所紀委開展新入職員工廉潔從業專題教育 2025年08月28日
- 國機精工黨委巡察組巡察軸研所黨委工作動員會議召開 2025年08月28日
文章出處:知識中心 網責任編輯:洛陽軸承 閱讀量: 發表時間:2022年01月25日
7 高性能醫療器械軸承
7.1 醫療器械軸承概述
高性能醫療器械主要包括醫療檢測與試驗分析,手術及服務器械與機器人等。目前應用最廣泛的是大型醫療器械中的醫學影像設備,包括醫學影像診斷設備和醫學影像治療設備。以CT機為例研究醫療器械軸承的結構、性能與技術要求。
醫用CT機主軸承應用于固定CT機架和旋轉掃描部分之間的連接部位,是CT機旋轉掃描部分的關鍵部件,作用是傳遞并承受X線管、準直儀、探測器、滑環等裝置產生的軸向載荷、徑向載荷和傾覆力矩,需滿足CT機較高轉速、低噪聲、高精度、低振動和長壽命的使用要求。
7.2 CT機主軸承的種類
CT機主軸承主要有鋼絲滾道軸承(圖21)、等截面薄壁軸承(圖22)、空氣軸承或其他先進結構軸承、主旋轉軸承等4類。其中,空氣軸承為懸浮類結構,主要用在第4代CT機上,目前尚在完善階段。

1,8—內圈;2—鋼球;3,5—鋼絲滾道;4—外圈;6—彈性襯墊;7—保持架。
圖21 CT機鋼絲滾道軸承結構示意圖
Fig.21 Structure diagram of wire raceway bearing for CT machine

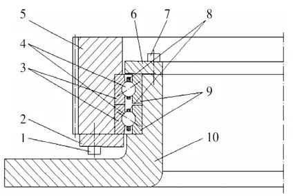
1—外圈壓板螺釘;2—外圈壓板;3—外圈;4—鋼球;5—軸承座;6—內圈壓板;7—內圈壓板螺釘;8—保持架;9—內圈;10—CT機主軸。
圖22 CT機等截面薄壁軸承結構示意圖
Fig.22 Structure diagram of uniform section thin-walled bearing for CT machine
洛陽LYC軸承有限公司針對國外鑲嵌式結構軸承存在著零件加工難度大,生產成本高,結構復雜的問題,研制出一種全新結構的CT機主旋轉軸承(圖23),達到了簡化工藝,降低成本和提高可靠性的效果。該軸承能夠滿足第3代CT機主軸承的使用要求,整體性能達到國際先進水平。

圖23 CT機主旋轉軸承結構示意圖
Fig.23 Structure diagram of main rotary bearing for CT machine
7.3 CT機主軸承關鍵技術
7.3.1 鋼絲滾道軸承
1)鋼絲滾道軸承特性的接觸力學分析、失效機理、壽命評估與計算的理論依據和經驗數據;
2)失效機理研究需要的大量數據及長期的失效分析積累;
3)研究軸承服役壽命的評估與計算方法,建立數據仿真分析的物理模型及數學模型;
4)開發鋼絲滾道的熱處理和機加工技術;
5)在考慮原理與設計,制造過程的技術水平和服役運行的維護保養等因素的基礎上,研究確保精準診斷的運轉噪聲控制技術;
6)影響CT機運轉剛性的軸承游隙調整和裝配技術。
7.3.2 等截面薄壁軸承
1)結構參數優化設計技術;
2)加工技術;
3)精密裝配技術;
4)保持架結構與材料研究;
5)密封結構研究;
6)潤滑劑研制;
7)套圈的非接觸測量技術;
8)軸承綜合性能評價技術。
7.4 CT機主軸承的市場需求
2020年全球CT機產銷量為11 000臺,每臺需配1套主軸承,洛陽LYC軸承有限公司CT機主軸承全球市場份額約10%。由于國產CT機主軸承進入市場,CT機主軸承國內售價已由每套3.5萬元降為1.5萬元。
醫用CT機配套軸承還將較長時期保持鋼絲滾道和等截面薄壁這2種結構型式,更優秀的替代產品(氣懸浮結構)還不夠成熟。
(參考文獻略)
來源:《軸承》2022年1期(節選)
軸研所公眾號 軸承雜志社公眾號
營銷熱線
0379-64367521
0379-64880626
13693806700
0379-64886322
0379-64881181